【恒大地产集团等被恢复执行38.9亿】 天眼查App显示,近日,恒大地产集团有限

向令聊科技 2025-09-23 14:50:16

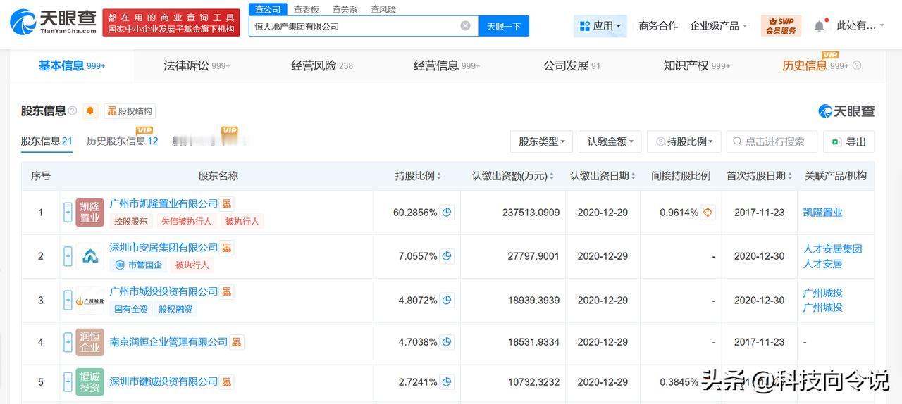
【恒大地产集团等被恢复执行38.9亿】 天眼查App显示,近日,恒大地产集团有限公司、恒大地产集团(深圳)有限公司、珠海经济特区恒隆房产开发有限公司等新增一则恢复执行信息,执行标的38.9亿余元,执行法院为广东省深圳市中级人民法院。 恒大地产集团有限公司成立于1996年6月,法定代表人为赵长龙,注册资本约39.4亿人民币,由广州市凯隆置业有限公司、深圳市安居集团有限公司、广州市城投投资有限公司等共同持股。风险信息显示,该公司现存500余条被执行人信息,被执行总金额超615亿元,此外,该公司还存在多条限制消费令、失信被执行人(老赖)及终本案件信息。 天眼查信息:

0 阅读:0
向令聊科技

向令聊科技

感谢大家的关注